東莞插齒加工工藝原理
1.插齒原理
插齒加工是利用插齒刀在插齒機上加工內、外齒輪或齒條等的齒面加工方法。
插齒加工過程,從原理上講,相當于一對直齒圓柱齒輪的嚙合。工件和插齒刀的運動形式,見圖1a。插齒刀相當于一個在齒輪上磨出前角和后角,形成切削刃的齒輪,而齒輪齒坯則作為另一個齒輪。插齒加工時刀具沿工件軸線方向作高速的往復直線運動,形成切削加工的主運動,同時還與工件作無間隙的嚙合運動,在工件上插齒加工出全部輪齒齒廓。在加過程中,刀具每往復一次僅切出工件齒槽的很小一部分,工件齒槽的齒面曲線是由插齒刀切削刃多次切削加工的包絡線所組成的,如圖1b所示。
插齒加工時,插齒機必須具備以下運動:
(1)主運動插齒刀的往復上、下運動稱為主運動。以每分鐘的往復次數來表示,向下為切削行程,向上為返回行程。
(2)展成運動插齒加工時,插齒刀和工件之間必須保持一對齒輪副的嚙合運動關系,即插齒刀每轉過一個齒(1/Z刀轉)時,工件也必須轉過一個齒(1/Z工轉)。
(3)徑向進給運動為了逐漸切至工件的全齒深,插齒刀必須有徑向進給運動。徑向進給量是用插齒刀每次往復行程中工件或刀具徑向移動的毫米數來表示。當達到全齒深時,機床便自動停止徑向進給運動,工件和刀具必須對滾一周,才能加工出全部輪齒。
(4)圓周進給運動展成運動只確定插齒刀和工件的相對運動關系,而運動快、慢由圓周進給運動來確定。插齒刀每一往復行程在分度圓上所轉過的弧長稱為圓周進給量,其單位為mm/往復行程。
(5)讓刀運動為了避免插齒刀在回程時擦傷已加工表面和減少刀具磨損,刀具和工件之間應讓開一段距離,而在插齒刀重新開始向下工作行程時,應立即恢復到原位,以便刀具向下切削加工件。這種讓開和恢復原位的運動稱為讓刀運動。一般新型號的插齒機通過刀具主軸座的擺動來實現讓刀運動,以減小讓刀產生的振動。
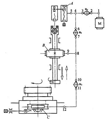
圖1是插齒機的傳動原理圖。主運動傳動鏈由“電動機M—1—2—uv—3—4—5—曲柄偏心盤A—插齒刀主軸(往復直線運動)”組成,其中換置機構uv用于改變插齒刀每分鐘往復行程數。圓周進給運動鏈由“插齒刀主軸(往復直線運動)—曲柄偏心盤A—5—4—6—us—7—8—9—蝸桿蝸輪副B—插齒刀主軸(旋轉運動)”組成,其中換置機構us用來調整圓周進給量大小。展成運動傳動鏈由“插齒刀主軸(旋轉運動)—蝸桿蝸輪副B—9—8—10—uc—11—12—蝸桿蝸輪副C—工作臺主軸(旋轉運動)”所組成,其中換置機構uc用來調整插齒刀與工件所需的準確相對運動關系。由于讓刀運動及徑向切入運動不直接參加表面成形運動,因此圖1中沒有表示出來。

-- 如需了解更多資料請點擊:《東莞大朗插齒加工的工藝特點》
相關標簽:插齒加工,切削加工
相關資訊
同類文章排行
- 旋鈕應用在不同領域中
- 裝飾件,裝飾片,精美的裝飾件怎能讓人不心動
- 按鍵cd紋,小巧可愛的按鍵表面也可以cd紋加工
- 按鍵,鋁按鍵,手機按鍵,電腦按鍵也能完成cd紋工藝
- 八年磨一劍,我們一直在做中高端外觀精美的鋁旋鈕!
- 機加工是什么,機加工是做什么的?
- CD紋產品特點表現在哪些方面呢?
- 2020CD紋顏色搭配方案大全
- 鋁氧化著色產化是我國鋁產業必經之路
- 鋁型材進行擠壓的時候還需要哪個過程?
最新資訊文章
- 我們擅長做的滾花工藝有哪些方法和形式
- 數控車床是什么?
- 一起探討鋁件、鋁件加工方法
- 什么是鏡頭圈?
- 旋鈕應用在不同領域中
- 什么是車床加工?
- 【誠聘】數控車床師傅!
- 裝飾件,裝飾片,精美的裝飾件怎能讓人不心動
- 電腦鑼與CNC的區別?
- 電腦鑼是cnc嗎?
您的瀏覽歷史




